SRAM patent points to revolutionary new in-wheel sensor
The 'smart wheel accessory' could provide more than just live tyre data to the rider
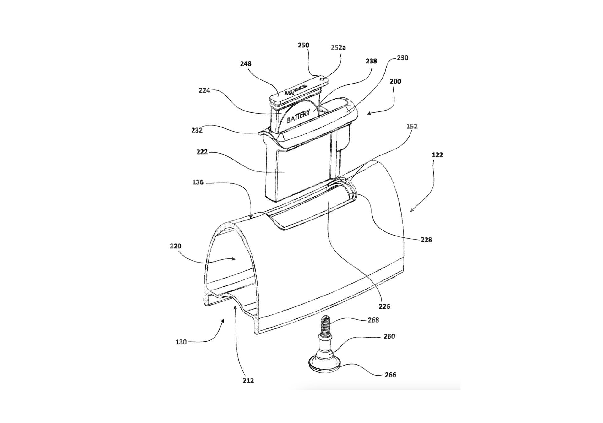
A new patent from SRAM suggests the brand is developing in-wheel sensors capable of feeding back live tyre pressure readings to the rider, as well as other information relating to rim health, road feedback, wheel lean and yaw data.
Filed earlier this year, and published last week, the patent is for a ‘bicycle wheel with an integrated sensor device’, and describes a “smart wheel accessory” embedded into the rim.
The proposed device, which is battery-powered, works by sending data to the rider’s phone or bicycle computer, giving them insights into tyre pressure and other information.
“The measured data may include, for example, tire pressure data, wheel speed data, wheel odometer data, rim composite health data, wheel lean and yaw data, product data, road feedback data, light emitting diode (LED) status indicators, and/or other data,” the patent reads.
The integrated sensor would bring an aerodynamic development to SRAM’s current range of tyre pressure sensors – named TyreWiz and sold under the Quarq brand – which are all fitted to the outside of the rim.
Within the patent filing, SRAM says the already existing devices “may negatively influence aerodynamic drag, aesthetics, and balance of the system”.
These issues now appear to be tackled in the new product. Positioned within a “receptacle” opposite the air valve, the sensor’s placing “may help rebalance the wheel for optimum performance”, the document reads.
Get The Leadout Newsletter
The latest race content, interviews, features, reviews and expert buying guides, direct to your inbox!
Whilst real-time tyre pressure gauges are not new, a device capable of this as well as monitoring the rim for defects, whilst also feeding back additional data on real-world factors impacting performance, would be a first.
As with all patents, there is no guarantee that this idea will make it to the production line. If it does, it is likely to come in conjunction with a new wheel release, perhaps a new carbon road wheel by Zipp, one of SRAM’s in-house brands.
In recent years, cycling product manufacturers have made significant advances in tyre pressure technology.
Adjustable systems were used at last year’s Paris-Roubaix by the then called Team DSM and Jumbo-Visma (now dsm-firmenich PostNL anfd Visma-Lease a Bike). The devices, engineered respectively by brands Scope and Gravaa, allowed riders to inflate or deflate their tyres wirelessly using Bluetooth-connected buttons.
SRAM’s latest patented idea does not appear to allow riders to adjust tyre pressure, but could prove useful in alerting them to discrete wheel issues; these may include slow punctures, or defects in the carbon material, which the patent suggests the sensor can detect.
In addition, an in-wheel device able to provide information on road feedback, wheel lean and yaw data could become useful for product designers aiming to optimise their offerings for real-world conditions.

Dov Tate used marine anemometers attached to his front axle
Several years ago, founder of wheel brand Parcours - Dove Tate - attached marine anemometers (which measure wind speed and direction) to his front and rear axles, to determine the average yaw angles affecting the wheels, and thus dictate the design of future more aerodynamically efficient rims. SRAM's device could offer a similar benefit, in a more aesthetically pleasing and purpose designed package. With an increase in the availability of real-time aerodynamic drag sensors, the possibilities become vast.
Contacted for comment by Cycling Weekly, a SRAM spokesperson said the company does not comment on patents.
Thank you for reading 20 articles this month* Join now for unlimited access
Enjoy your first month for just £1 / $1 / €1
*Read 5 free articles per month without a subscription
Join now for unlimited access
Try first month for just £1 / $1 / €1
Tom joined Cycling Weekly as a news and features writer in the summer of 2022, having previously contributed as a freelancer. He is fluent in French and Spanish, and holds a master's degree in International Journalism, which he passed with distinction. Since 2020, he has been the host of The TT Podcast, offering race analysis and rider interviews.
An enthusiastic cyclist himself, Tom likes it most when the road goes uphill, and actively seeks out double-figure gradients on his rides. His best result is 28th in a hill-climb competition, albeit out of 40 entrants.
-
One domestic road race can produce equivalent emissions to flying from London to New York and back, twice: the why and how of more sustainable events
Sustainability specialist and road race organiser Travis Bramley set out to discover if his love for cycling could align with his commitment to the environment. Here’s what he found
By Travis Bramley Published
-
Is Mathieu van der Poel winning races “in zone 2” helping or hindering cyclo-cross?The Dutch world champion has turned up off-road now, and immediately won twice. Is this fun?
By Adam Becket Published
-
Wild new SRAM patent might make turbo trainers a lot easier to use
Patent claims new indoor trainer design will allow users to install their bicycles 'quickly and easily' with limited wear
By Tom Davidson Published
-
SRAM issues recall as Consumer Product Safety Commission advises 'immediately stop using the levers'
Clamp bolt problem could lead to “crash resulting in injury”, company warns
By Tom Davidson Published
-
SRAM loses aero wheel patent case against Princeton Carbon Works
Case recently headed to court after SRAM levelled accusation of infringement at Princeton in January
By Tom Thewlis Published
-
Philly Bike Expo: a spotlight on diversity in bike builders and their builds
We visited the Philly Bike Expo and met with the bike builders in the PBE x SRAM Inclusivity Scholarship program
By Elisabeth Reinkordt Last updated
-
Velocio apparel sells to SRAM
Cycling apparel company, Velocio, today announced that it sold the brand to American bicycle component manufacturer, SRAM, for an undisclosed sum.
By Anne-Marije Rook Published






